Logo Adler SAS, la technique au service du verre
Sketch

 

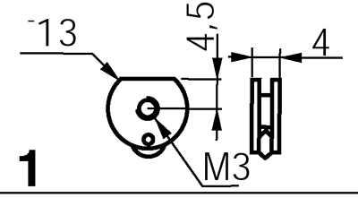
ITEM : 12349Y

wheel-holder n°1, steel, with Vitrum® N cutting wheel, 118° x 25

 
wheel-holder n°1, steel, with Vitrum® N cutting wheel, 118° x 25