Logo Adler SAS
Glas einschnitt

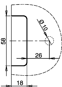
ARTIKEL : 50476R

Klemmbefestigung für Trennwände - 52 x 40 mm - Flache Eckhalterung - Zamak vergoldet

ATTENTION : nachstehenden Zeichnung ist nicht in einem rechten Maßstab.

Um es auf den richtigen Maßstab mit Adobe® Reader® zu drucken, klicken Sie bitte HIER

Adobe acrobat reader

 

Klemmbefestigung für Trennwände - 52 x 40 mm - Flache Eckhalterung - Zamak vergoldet